150 років від дня народження Фріца Прегля, австрійського біхіміка, лауреата Нобелівської премії з хімії
Фріц Прегль (нім. Fritz Pregl) — австрійський біхімік і лікар словенського походження, лауреат Нобелівської премії з хімії народився 3 вересня 1869 р. у м. Лайбах (нині Любляна, Словенія), у родині службовця казначейства Раймунда Прегля і Фредерік (Шлакер) Прегль. Хлопчик рано втратив батька і в 1887 р., закінчивши гімназію в Лайбасі, переїхав з матір'ю в Грац. Вступивши до Грацького університету, Прегль зайнявся вивченням медицини і проявив себе настільки талановитим студентом, що викладач фізіології Alexander Rollett зробив його своїм асистентом в лабораторії.

Отримавши в 1893 р. медичний диплом, Прегль залишився працювати в лабораторії Ролетта, одночасно практикуючи як лікар-офтальмолог. У цей час Прегль дедалі більше захоплюється хімією. Особливо його цікавили реакції холієвої кислоти, виявленої в жовчі, і причина високого вмісту вуглець-азотистих сполук в людській сечі. Проведені ним дослідження були оцінені досить високо, і в 1899 р. йому була запропонована посада лектора на кафедрі фізіології Грацького університету. Бажання продовжити розпочаті дослідження в галузі фізіологічної хімії привело Прегля до Німеччини, де протягом 1904 р. він працював у Карла Хуфнера в Тюбінгенському, у Вільгельма Оствальда — в Лейпцизькому і в Еміля Фішера — у Берлінському університетах. Після повернення до Грацу в 1905 р. він був призначений асистент-професором університетської лабораторії медичної хімії, а два роки опісля став судовим хіміком Граца.
У 1913 р. Прегль повернувся до Грацького університету як професор медичної хімії, в 1916 р. став деканом медичного факультету, а в 1920 р. — його віце-канцлером. Весь цей час він продовжував працювати над удосконаленням і спрощенням методів мікроаналізу. Його робота над сироватками, жовчними кислотами і різними ензимами увінчалася значними результатами.
Після отримання Нобелівської премії Прегль продовжував активно займатися науково-дослідною та викладацькою діяльністю. Його лабораторія стала всесвітньо відомим центром органічного мікроаналізу. А свій ретельний і виключно точний підхід експериментатора вчений передавав студентам. Відомий як чесна, енергійна і скромна людина, Прегль допоміг багатьом своїм студентам завершити освіту у важкі роки після першої світової війни. Прегль любив ходити в гори, був завзятим велосипедистом і автомобілістом. Вчений ніколи не був одружений. Перед смертю він пожертвував велику суму грошей Академії наук у Відні на встановлення премії за досягнення в галузі мікрохімії. Прегль помер 13 грудня 1930 р. у віці 61 року в Граці після нетривалої хвороби.
Наукова діяльність
Вивчаючи жовчні кислоти та хімію протеїну, Прегль зіткнувся з труднощами проведення аналізу при виключно малій кількості речовин, які потрібно було аналізувати. У його час, щоб провести хімічний аналіз на доступному рівні, але з використанням передових методів, розроблених в 1830-ті рр. хіміками Юстусом фон Лібіхом і Жаном Батистом Дюма Андре, потрібно принаймні від 0,15 до 0,20 грама речовини. Це означало, що для дослідження молекул Преглю довелося б вирішити нездійсненне завдання — переробити кілька тонн аналізованої речовини. Альтернативним рішенням було вдосконалення методів хімічного аналізу. Прегль вибрав останнє.
Після того як в 1910 р. Прегль зайняв посаду професора медичної хімії в Інсбрукському університеті, він отримав можливість приділяти значну частину свого часу мікроаналізу. Одне з перших його завдань полягало в тому, щоб винайти ваги, чутливіші, ніж ті, які застосовувалися у звичайній, макроаналітичній хімії. Удосконалюючи ваги, сконструйовані німецьким хіміком В. Г. Кульманом, з тим щоб вони показували масу з точністю до однієї тисячної частки міліграма, Прегль підвищив їх точність у 10 разів.

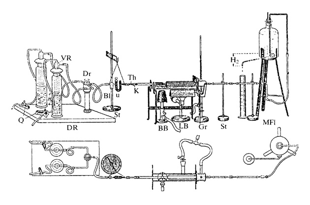
Апарат Прегля для мікрохімічного аналізу
Прегль займався вивченням органічних молекул, які містили головним чином вуглець, водень, кисень, а часто азот, фосфор, сірку й інші елементи. Аналіз цих сполук вимагає визначення пропорційного складу елементів-складників. Спочатку весь вуглець необхідно перетворити на вуглекислий газ, а весь водень — на воду. Потім ці продукти поділяються шляхом поглинання їх іншими речовинами, які, будучи зважені до і після поглинання, покажуть, яка кількість вуглецю, кисню та водню ними була поглинена. Оскільки будь-яке зіткнення з повітрям забруднювало б аналізовані зразки, даний крок у всьому процесі виявився найскладнішим. Прегль також виявив, що при поглинанні у речовини просочуються, забруднюючи зразки, сторонні побічні продукти, хоча і в безпечній за мірками макроаналізу кількості. Щоб подолати ці труднощі, він винайшов спеціальний фільтр, який затримував все, крім вуглекислого газу і води. Продовжуючи свої дослідження, Прегль розробив методи мікроаналізу для вивчення таких класичних органічних груп, як галогени, карбоксильні групи і метил, а також виготовив за допомогою склодува надзвичайно маленького розміру нову апаратуру, яка дозволяла визначати молекулярну масу речовини через її точку кипіння.

Кількісний органічний мікроаналіз Фріца Прегля (видання 1937 р.)
До 1911 р. Прегль застосовував свої методи аналізу до зразків у кількості від 7 до 13 міліграмів речовини, а через два роки — вже до 3 міліграмів. Вчений також скоротив час хімічного аналізу до однієї години, тобто більше ніж у три рази. Запропоновані ним методи набагато простіші та значно точніші, ніж попередні, виявилися особливо важливими при аналізі складних природних сполук.
Нагороди
У 1923 р. Преглю була присуджена Нобелівська премія з хімії «за винахід методу мікроаналізу органічних речовин». У своїй Нобелівській лекції він, великодушно віддавши належне колегам за їх внесок у його роботу, висловив надію, «що в майбутньому для кількісного мікроаналізу органічних речовин знайдеться ще багато областей застосування, що сам він буде продовжувати удосконалюватися, відкриваючи, таким чином, широкі можливості для наукового пізнання».
Крім Нобелівської, Прегль був нагороджений премією Лейба з хімії Імперської академії наук у Відні (1914). Він був почесним доктором Геттінгенського університету, членом-кореспондентом Імперської академії наук.
Підготував проф. В. Трокоз